3DCenter
3DTools
Forum
Hauptlinks
Startseite
News
7-Tage-News
Linklisten der News
Newsindex-Übersicht
AMD RDNA3
AMD RDNA4
AMD RDNA5
Intel Battlemage
Intel Celestial
nVidia Blackwell
nVidia N1X & GB10
nVidia Rubin
AMD Zen 4
AMD Zen 5
AMD Zen 6
Intel Arrow Lake
Intel Panther Lake
Intel Nova Lake
Artikel
Downloads
Suchen
Navigation
Gfx Performance
Gfx Stromverbrauch
Gfx Marktüberblick
25 Jahre 3DCenter
IT-Meme des Tages
Abbildungen
Neue Bilder
Neue Beiträge
Umfragen
Forenneuigkeiten
Techweb Suche
Impressum
3DCenter Archiv
Startseite
›
Abbildungen
›
News+Blog
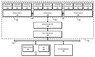
AMD-Grafikchip als MultiChip-Design gemäß US-Patentantrag 18/077,424
Sa, 15.06.2024 17:51 –
Leonidas
Bookmark/Search this post with:
News+Blog
Original
Thumbnail
Vorschau
Vorschau2
Kleine Vorschau2
Druckoptimierte Version
Translate
3DCenter unterstützen
Shoppen bei Amazon
Spende per Patreon
Spende per PayPal
Spende per Steady
Spende per Monero
alle Möglichkeiten
Neueste Blogeinträge
Newsindex-Listen zu N1X/GB10, Zen 7, Druid und einigen Intel-Lakes
Ein Beispiel zu den Limits von KI
The Age of Lion (Cove)
Unsitte: Spoilern von Sport-Ergebnissen
3DCenter ist jetzt werbefrei - und benötigt nun Unterstützung
Weitere Beiträge
Neue Forenbeiträge
Werden Studios immer fauler?
System- und CPU-Temperatur
The last caretaker
Unabhängig von US-Diensten
Bluetooth-Kopfhörer - Oneplus 13 - wie gehe ich vor?
Weitere Beiträge
Neue Beiträge im Forum Technologie
AMDs FidelityFX Super Resolution 2.0/3.0/4.0 (FSR 2.0, FSR 3.0, FSR 4.0)
Bessere Monitore?
Optiscaler, das Multifunktionswerkzeug für Upscaling, Framegenerierung und mehr
nVidias Deep Learning Super Sampling - DLSS 2.x, DLSS 3.x, DLSS 4
Filterqualität des AF-Testers erklärt
Weitere Beiträge
Uns folgen
Partner
PCGH.de
Planet 3DNow!
TweakPC
Spieleflut
Spiele Tipps
WinFuture
GameZone
Umfrage
Umfrage: Welche neue Hardware wird im Jahr 2026 am meisten erwartet?:
neue X3D-Modelle von AMD Zen 5
AMD Ryzen 9000G
AMD Zen 6 (inkl. X3D)
Intel Arc B700 Serie
Intel Panther Lake
Intel Arrow Lake Refresh
Intel Nova Lake (inkl. bLLC)
MediaTek N1-Serie (mit nVidia-iGPU)
Qualcomm Snapdragon X2
Valve Steam Machine
Frühere Umfragen
Ergebnisse