3DCenter
3DTools
Forum
Hauptlinks
Startseite
News
7-Tage-News
Linklisten der News
Newsindex-Übersicht
AMD RDNA3
AMD RDNA4
AMD RDNA5
Intel Battlemage
Intel Celestial
nVidia Blackwell
nVidia N1X & GB10
nVidia Rubin
AMD Zen 4
AMD Zen 5
AMD Zen 6
Intel Arrow Lake
Intel Panther Lake
Intel Nova Lake
Artikel
Downloads
Suchen
Navigation
Gfx Performance
Gfx Stromverbrauch
Gfx Marktüberblick
25 Jahre 3DCenter
IT-Meme des Tages
Abbildungen
Neue Bilder
Neue Beiträge
Umfragen
Forenneuigkeiten
Techweb Suche
Impressum
3DCenter Archiv
Startseite
›
Abbildungen
›
News+Blog
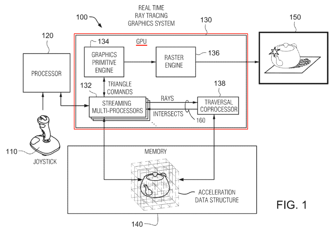
nVidia "Traversal Coprocessor" (lt. nVidia-Patent)
Mo, 15.06.2020 09:34 –
Leonidas
Bookmark/Search this post with:
News+Blog
Original
Thumbnail
Kleine Vorschau
Vorschau2
Kleine Vorschau2
Druckoptimierte Version
Translate
3DCenter unterstützen
Shoppen bei Amazon
Spende per Patreon
Spende per PayPal
Spende per Steady
Spende per Monero
alle Möglichkeiten
Neueste Blogeinträge
Newsindex-Listen zu N1X/GB10, Zen 7, Druid und einigen Intel-Lakes
Ein Beispiel zu den Limits von KI
The Age of Lion (Cove)
Unsitte: Spoilern von Sport-Ergebnissen
3DCenter ist jetzt werbefrei - und benötigt nun Unterstützung
Weitere Beiträge
Neue Forenbeiträge
NVIDIA GeForce Game Ready-Treiber 591.59
Intel - Probleme mit neuer B580
Qant Photonic
Hardwareverteuerung als Chance für die Spielindustrie?
700-Watt-Netzteil zu klein dimensioniert?
Weitere Beiträge
Neue Beiträge im Forum Technologie
AMDs FidelityFX Super Resolution 2.0/3.0/4.0 (FSR 2.0, FSR 3.0, FSR 4.0)
Optiscaler, das Multifunktionswerkzeug für Upscaling, Framegenerierung und mehr
Qant Photonic
Bessere Monitore?
nVidias Deep Learning Super Sampling - DLSS 2.x, DLSS 3.x, DLSS 4
Weitere Beiträge
Uns folgen
Partner
PCGH.de
Planet 3DNow!
TweakPC
Spieleflut
Spiele Tipps
WinFuture
GameZone
Umfrage
Umfrage: Welche SSD-Größen werden derzeit verwendet (2025)?:
nur gewöhnliche Festplatte
nur Hybrid-Festplatte, Mainboard mit SSD-Cache oder Caching-SSD
SSD-Größe bis 64 GB
SSD-Größe bis 128 GB
SSD-Größe bis 256 GB
SSD-Größe bis 512 GB
SSD-Größe bis 1 TB
SSD-Größe bis 2 TB
SSD-Größe bis 4 TB
SSD-Größe bis 8 TB
SSD-Größe über 8 TB
Frühere Umfragen
Ergebnisse