3DCenter
3DTools
Forum
Hauptlinks
Startseite
News
7-Tage-News
Linklisten der News
Newsindex-Übersicht
AMD RDNA3
AMD RDNA4
AMD RDNA5
Intel Battlemage
Intel Celestial
nVidia Blackwell
nVidia N1X & GB10
nVidia Rubin
AMD Zen 4
AMD Zen 5
AMD Zen 6
Intel Arrow Lake
Intel Panther Lake
Intel Nova Lake
Artikel
Downloads
Suchen
Navigation
Gfx Performance
Gfx Stromverbrauch
Gfx Marktüberblick
25 Jahre 3DCenter
IT-Meme des Tages
Abbildungen
Neue Bilder
Neue Beiträge
Umfragen
Forenneuigkeiten
Techweb Suche
Impressum
3DCenter Archiv
Startseite
›
Abbildungen
›
News+Blog
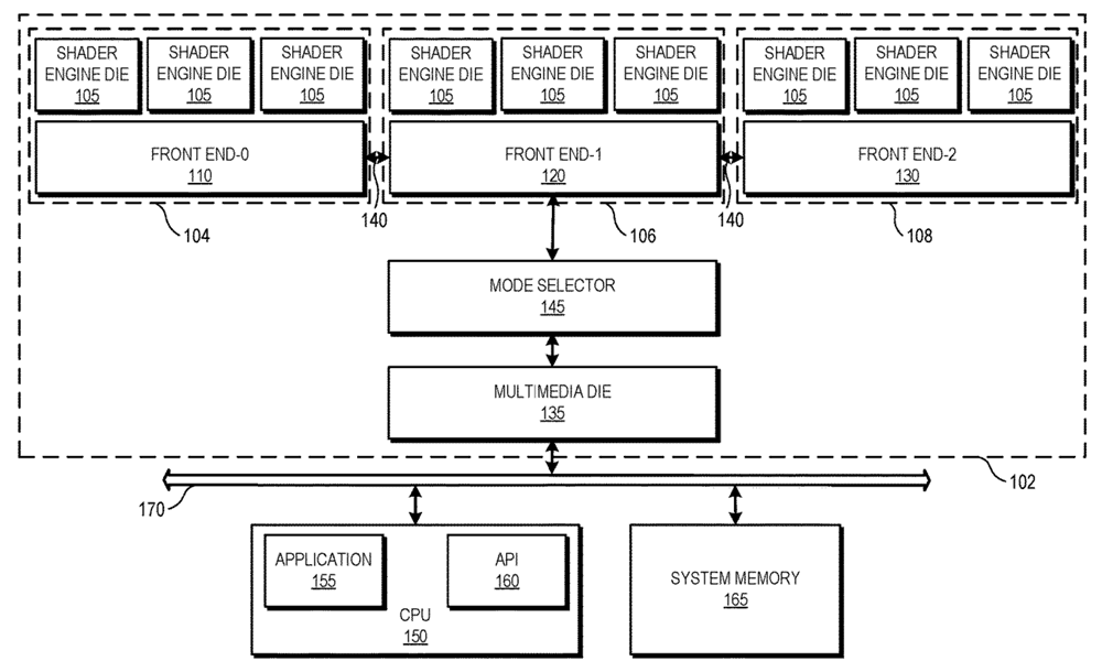
AMD-Grafikchip als MultiChip-Design gemäß US-Patentantrag 18/077,424
Sa, 15.06.2024 18:51 –
Leonidas
Bookmark/Search this post with:
News+Blog
Original
Thumbnail
Kleine Vorschau
Vorschau2
Kleine Vorschau2
Druckoptimierte Version
Translate
3DCenter unterstützen
Shoppen bei Amazon
Spende per Patreon
Spende per PayPal
Spende per Steady
Spende per Monero
alle Möglichkeiten
Neueste Blogeinträge
Newsindex-Listen zu N1X/GB10, Zen 7, Druid und einigen Intel-Lakes
Ein Beispiel zu den Limits von KI
The Age of Lion (Cove)
Unsitte: Spoilern von Sport-Ergebnissen
3DCenter ist jetzt werbefrei - und benötigt nun Unterstützung
Weitere Beiträge
Neue Forenbeiträge
Was machen diesen Einstellungen im BIOS?
RtCW vorzeitig nicht mehr indiziert :D
Dragonkin: The Banished
Macbook M4 der Freundin geben, komplettes Rücksetzen deshalb nicht nötig, oder?
Win 10 - ESU stockt
Weitere Beiträge
Neue Beiträge im Forum Technologie
nVidias Deep Learning Super Sampling - DLSS 2.x, DLSS 3.x, DLSS 4
Optiscaler, das Multifunktionswerkzeug für Upscaling, Framegenerierung und mehr
Unreal Engine 5
AMDs FidelityFX Super Resolution 2.0/3.0/4.0 (FSR 2.0, FSR 3.0, FSR 4.0)
Bessere Monitore?
Weitere Beiträge
Uns folgen
Partner
PCGH.de
Planet 3DNow!
TweakPC
Spieleflut
Spiele Tipps
WinFuture
GameZone
Umfrage
Umfrage: Welche Monitorauflösung steht für den Spielerechner zur Verfügung (2026)?:
Mainstream-User: 1680x1050 oder kleiner
Mainstream-User: 1920x1080/1200
Mainstream-User: 2560x1440/1600 oder 3440x1440
Mainstream-User: 3840x2160 oder 5120x1440
Mainstream-User: 5120x2880 oder größer
Midrange-User: 1680x1050 oder kleiner
Midrange-User: 1920x1080/1200
Midrange-User: 2560x1440/1600 oder 3440x1440
Midrange-User: 3840x2160 oder 5120x1440
Midrange-User: 5120x2880 oder größer
HighEnd-User: 1680x1050 oder kleiner
HighEnd-User: 1920x1080/1200
HighEnd-User: 2560x1440/1600 oder 3440x1440
HighEnd-User: 3840x2160 oder 5120x1440
HighEnd-User: 5120x2880 oder größer
Frühere Umfragen
Ergebnisse